电磁流量计
语言
中文版
英文版
咨询
热线:
19857007412
首页
产品中心
电磁流量计
超声波液位计
压力变送器
美控简介
资讯中心
联系我们
流量仪表系列
电磁流量计
超声波流量计
涡街流量计
涡轮流量计
金属管浮子流量计
插入式电磁流量计
液位仪表系列
雷达液位计
超声波液位计
投入式液位计
压力仪表系列
压力变送器
差压变送器
数显压力变送器
水质仪表系列
Ph/ORP检测仪
Ph电极/传感器
溶氧仪
电导率仪
污泥浓度计
浊度仪
首页
>
涡轮流量计
》
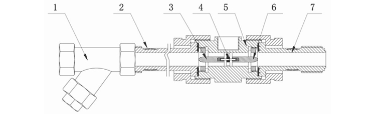
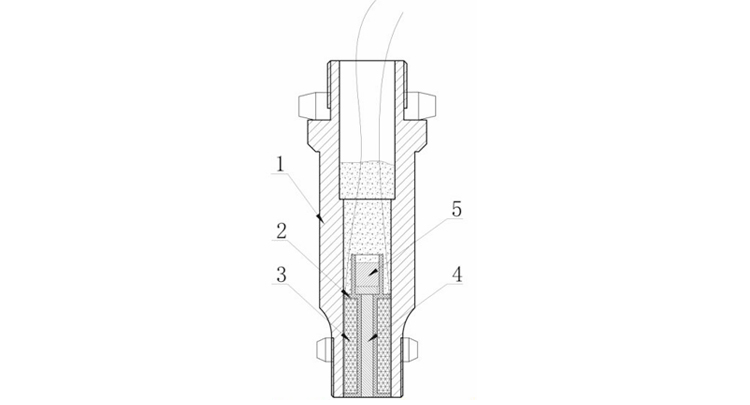
美控LWGY-MIK液体涡轮流量计
》
美控LWGY-MIK液体涡轮流量计
咨询热线:19857007412(微信同号)
微信扫码询价
微信扫码选型
19857007412
微信:19857007412
QQ:1559785305
电磁流量计厂家
-杭州美控自动化技术有限公司有限公司
公司地址:杭州经济技术开发区科技园路2号4幢
浙ICP备18007088号-5
热线电话:19857007412